《政务与公共服务领域信息系统项目评审规范》(DB3308/T161-2024)是衢州市市场监督管理局发布的政务与公共服务领域信息系统项目评审地方标准,2024年11月19日发布、12月19日正式实施,由衢州市数据局提出并归口,联合政务部门、通信企业、科技公司等单位起草,核心是为政务/公共服务机构非涉密信息系统项目的全生命周期评审建立统一、规范的操作准则,覆盖立项论证、过程评估、验收评审、绩效评价四大核心环节,明确了评审各主体职责、内容、流程及纪律要求,保障项目评审的科学、客观、公正。
01标准核心定位与适用范围
适用对象:政务部门、公共服务机构的非涉密信息系统项目,涉密项目需向专属职能机构申报评审;适用环节:项目全生命周期的四大评审工作——立项论证、过程评估、验收评审、绩效评价;核心目的:通过标准化评审,确保项目建设的适宜性、充分性和有效性,避免重复建设、提升项目质量,助力政务数字化转型。
02 评审的组织与人员要求
主体:一般为电子政务、教育、医疗等行业负责具体评审组织工作的主管部门;核心职责:制定并实施评审计划、管理评审专家库、保管评审材料、处理项目建设单位的申诉、持续改进评审工作质量,工作人员需遵守专属纪律要求。专家基本条件:政治素质与职业道德良好;对领域项目有系统认识和专业见解;5年及以上相关工作经验+中级及以上职称(或同等水平),熟悉相关法规;接受培训考核;身体健康。专家核心职责:接受聘请并提出评审意见;遵守法律法规、独立客观公正评审、严守保密原则。
03 核心评审内容
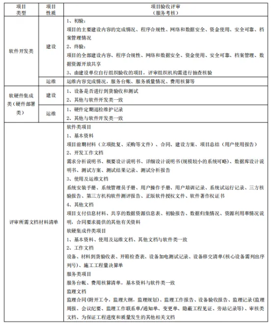
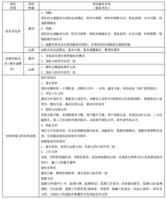
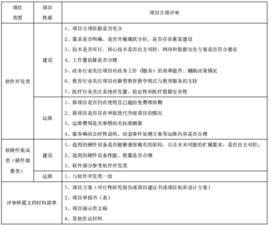
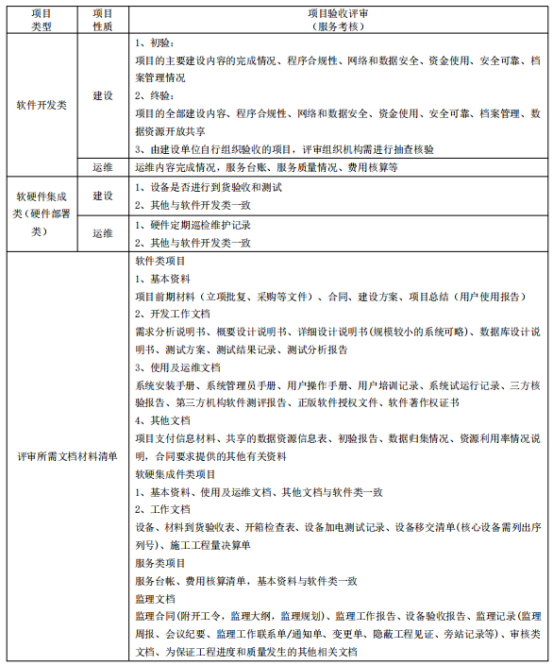
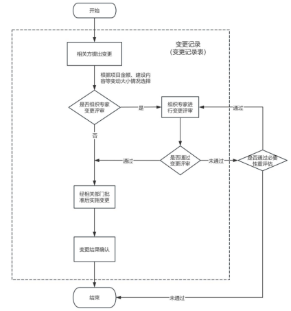
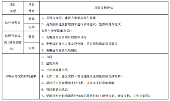
针对立项论证、过程评估、验收评审、绩效评价四大环节,按项目类型(软件开发类/软硬件集成类)、项目性质(建设/运维)制定差异化评审内容+明确所需材料清单,核心要点如下:是项目能否立项的关键,重点关注立项依据、需求分析、建设内容、费用估算、预期目标,不同类型项目各有侧重:1、软件开发类(建设):审核立项依据充分性、需求是否重复建设、核心技术自主可控性、工作量估算合理性,且分行业关注重点(政务看效率 / 决策、教育看教学服务支持、医疗看并发量 / 数据安全);2、软件开发类(运维):审核原项目是否超免费维保期、是否叠加迭代升级、运维费用测算合规性、应急处理方案合理性;3、软硬件集成类(建设):审核硬件兼容性 / 扩展性 / 自主可控性、性能数量合理性,软件部分参考软件开发类;4、软硬件集成类(运维):与软件开发类运维评审要求一致。分阶段性评审和变更性评审,核心是把控项目建设进度、质量,避免偏离合同/方案要求:1、阶段性评审:审核项目程序性文件、建设实施方案、过程文档、里程碑成果是否完成;2、变更性评审:项目需变更时,审核变更必要性、技术可行性、费用合理性,重点关注变更是否符合项目整体目标、变更后风险,且需填写变更记录表、遵循变更评估流程。分初步验收和竣工验收,是项目交付使用的关键,核心审核建设内容完成度、合同履行、资金使用、数据安全等,建设单位自行验收的项目需接受评审组织机构抽查核验:1、软件开发类(建设):初验审主要建设内容、程序合规、资金 / 档案管理等;终验加审数据资源开放共享、全部建设内容完成情况;2、软件开发类(运维):审核运维内容完成度、服务台账 / 质量、费用核算;3、软硬件集成类(建设):额外加审硬件到货验收 / 测试情况,其余同软件开发类;4、软硬件集成类(运维):额外加审硬件定期巡检记录,其余同软件开发类。5、特殊要求:采用监理制度的项目,需同步审核监理全过程文档。仅针对建设性质的软件开发类 / 软硬件集成类项目,运维项目不做绩效评价,核心从预期目标达成情况、应用效果、数据资源共享、安全保密、设备运行情况等维度评价,同时需核算项目的经济效益和社会效益(如系统应用率、用户满意度、关键业务数据增长率等)。
04 评审流程
标准明确了评审从计划制定到档案管理的全流程操作要求,核心环节可概括为制定评审计划→抽取专家→组织评审→生成评审结果→管理评审档案,其中专家抽取、评审实施、结果生成是实操关键,规则明确且具有强约束性:1、评审组织机构定期制定,需区分项目类型/规模安排评审时间,类似项目合并批次;2、计划内容含:评审项目清单、时间地点、评审方式、参加单位/人员(不含专家)。专家抽取是评审质量的核心保障,标准制定了抽取原则、方式、具体要求三重规则,核心要点:1、抽取原则:抽取与使用岗位分离+回避原则+随机+关联领域算法为主、人工校验为辅;2、数量要求:每个项目评审专家为不少于3人的奇数(绩效评价除外),至少1名经济/管理专家,人数按项目规模调整;3、回避要求:同一项目专家不得2人及以上来自同一单位,专家与项目建设/承建单位有利害关系的必须回避;1、评审方式:会议评审、现场考察评审、远程评审,可单独或组合使用;2、现场准备:场地、文件、软硬件设施到位,远程评审需借助专属信息系统;3、评审实施步骤:签到→专家签署承诺书→保管通讯设备→介绍评审要求→推选专家组长→项目建设单位汇报→专家组质询讨论→相关单位回避后专家组形成评审结果。评审结果分结论性结果、非结论性结果,判定规则明确,且需形成书面材料并专家复核署名:1、结论性结果(立项、验收等核心评审):采用投票制/评分制- 投票制:无记名投票,三分之二及以上表决权专家通过即为评审通过;
- 评分制:取专家评分平均值,超过设定分值即为评审通过;
2、非结论性结果:仅记录讨论过程、建议意见,无明确通过/不通过结论;所有评审结果需制作《项目评审意见表》,专家组全体成员复核署名后生效。评审形成的所有文档(项目材料、评审意见表、专家履职情况等)按档案管理标准保管,评审组织机构对档案信息负有保管责任。
05 总结
作为衢州市首次发布的该领域地方标准,统一了政务与公共服务信息系统项目评审的术语、内容、流程、规则,解决了以往评审“无统一标准、分类不清晰、实操不规范”的问题。标准从立项到绩效评价的全环节标准化评审,实现项目“上马前审核、建设中管控、建成后验收、投用后评估”的闭环管理,有效避免重复建设、盲目投资。标准针对教育、医疗等行业的专属评审要求,以及技术自主可控、数据安全、数据共享等核心要点的重点审核,助力提升政务与公共服务信息系统项目的建设质量和应用效益,支撑衢州市政府数字化转型。